November 1, 2023
Patent Troll Concedes, Abandons 4 Lighting Lawsuits

Cooper, Signify and others see victory as lawsuits are dropped months after filing
FerRuiz IP LLC, a relatively unknown Texas-based firm, has voluntarily dismissed all four lawsuits it filed earlier this year against some well-established lighting industry companies. These dismissals mark the end of a head-scratching chapter that had put the spotlight on the practices of certain non-practicing entities (NPEs) and raised questions about the enforcement of a very specialized patent.
Separate lawsuits were filed in March and April against Cooper Lighting Solutions, Signify North America, and Feilo Sylvania. Additionally, another suit was filed against two unrelated business entities named Spectrum Lighting, Inc. — the Massachusetts indoor lighting manufacturer and the Austin, Texas lighting agent. The agent seemingly got pulled into the suit based solely on its name and location, as it doesn't manufacture the Spectrum Lighting fixtures asserted in the lawsuit which was filed in a Texas federal court. Spectrum Lighting, the agent, does represent Spectrum Lighting, the manufacturer, but the plaintiff didn't make that distinction in the case.
Who is FerRuiz IP?: Managed by a company called Pueblo Nuevo and led by Texas businessman Carlos Gorrichategui, FerRuiz IP is a non-practicing entity, meaning it holds patents but does not produce related products. The company's operations focus on leveraging patent ownership, often leading to its characterization as a "patent troll."
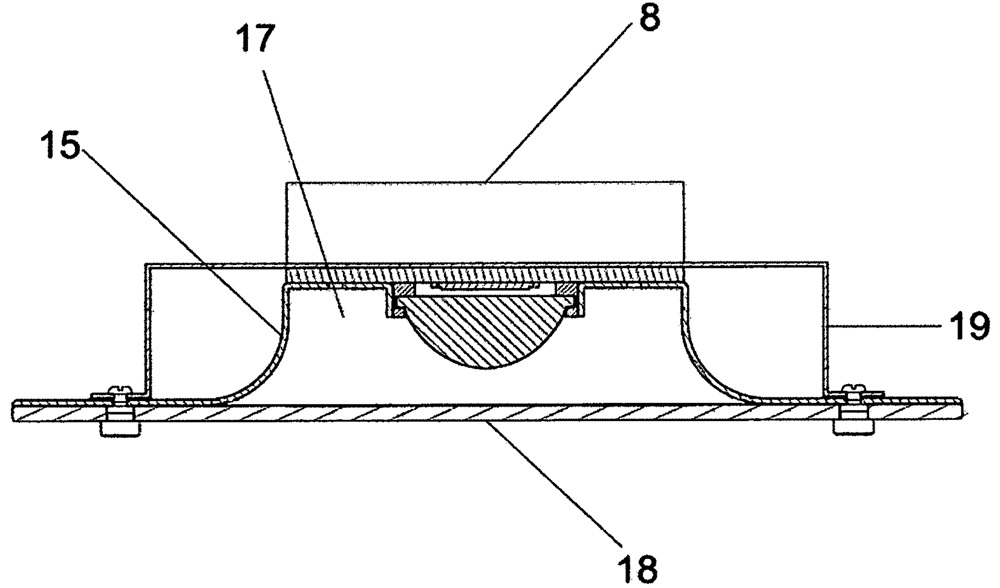
The core of FerRuiz's assertions revolved around one sole patent – U.S. Patent No 10,066,808, assigned to Spanish inventor Fernando Ruiz and subsequently transferred to Carlos Gorrichategui. The patent, filed in 2015 and granted in 2018, pertains to an optical system for LED lamps and luminaires, involving a glass lens with various geometric shapes and a trim design reminiscent of a top hat, as described in the patent filing.
The Dismissals: A Summary
Separate lawsuits against Signify and Cooper Lighting
FerRuiz withdew its lawsuits against both Signify North America and Cooper Lighting, but with prejudice. This means FerRuiz cannot file another lawsuit on the same claim against these companies. The cases against Signify and Cooper Lighting involved accusations of infringement on various products, including Color Kinetics' PowerCore products and certain HALO branded products with glass lenses.
Spectrum Lighting, Inc. (the Massachusetts manufacturer) & Spectrum Lighting, Inc. (the Austin, Texas lighting agent)
FerRuiz voluntarily dismissed its lawsuit against both Spectrum Lighting entities in September 2023, without prejudice. This lawsuit involved an accusation of infringement with Spectrum's SGEF4LEDOS 4" LED Recessed Flush Lens Downlight. Confusion arose due to the involvement of Spectrum Lighting, the agent, and Spectrum Lighting, the manufacturer, leading to a possibly ill-conceived legal scenario. The dismissal without prejudice allows for the possibility of future litigation on the same claim.
Felio Sylvania
In October 2023, FerRuiz also voluntarily dismissed its case against Felio Sylvania without prejudice. The lawsuit targeted the European-based company, accusing it of infringing the ‘808 patent. However, FerRuiz's claim that Felio Sylvania regularly conducted business in Texas, which was crucial for jurisdiction, faced scrutiny and could not be verified.
The voluntary dismissals by FerRuiz, especially those with prejudice, signal a significant retreat and possibly reflect the strength of the legal teams representing a couple of the lighting giants, or perhaps they reveal the plaintiff’s realization that each of its cases were each built upon a weak foundation of untested intellectual property. These developments also highlight the challenges faced by non-practicing entities in enforcing patents, especially when up against well-resourced and IP-protected firms.










